Will The New Dodge Charger Get Active Front Aero?

The new Dodge Charger may have classic pony car looks, but that’s about where the similarities with old-school muscle begin and end. For starters, it’ll be available either as an EV or with a turbocharged straight-six. What’s more, a patent filed by Dodge last autumn and recently granted suggests that active bodywork aero is at least being considered for the controversial car.
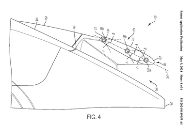
We’re not just talking about a rear spoiler that rises up above a certain speed, either – the patent suggests that Dodge is looking into active aero flaps on the front of the car. Y’know, like the Pagani Huayra has. The documents don’t mention a specific car, but the car in the drawings is quite clearly the new Charger, with various images showing air being channelled through the distinctive opening between its headlights.

You can properly dig into the filing with the US Patent Office which, as always with this sort of thing, is deeply wordy and complex and far beyond the understanding of our tiny minds. The gist, though, seems to be that the flaps would flip up by way of a motorised actuator at certain speeds in order to optimise airflow over the body.
The patent’s introduction makes reference to the fact that muscle car styling trends call for a bluff, upright front end, which isn’t particularly great for aerodynamics, so it seems that Dodge is considering this system primarily as a way of reducing drag rather than improving handling. The drawings show two different designs, one for two separate flaps and another for a single, wider piece.

We certainly wouldn’t expect this to be something included on the Charger at launch – there was no mention of it when the car was unveiled a couple of months ago, and besides, the patent was only granted earlier in May. Could it be something that appears further down the line, though, or perhaps on a future Dodge muscle car? Only time will tell.













%2024229.jpg)

Comments
No comments found.